Oggi è martedì 23 dicembre 2025, 19:34

Tutti gli orari sono UTC + 1 ora [ ora legale ]




Apri un nuovo argomento Rispondi all’argomento  [ 49 messaggi ]  Vai alla pagina Precedente  1, 2, 3, 4  Prossimo
Autore Messaggio
 Oggetto del messaggio: Re: ALn 56 FIAT...
MessaggioInviato: domenica 7 aprile 2019, 20:10 
Non connesso

Iscritto il: mercoledì 29 marzo 2006, 13:06
Messaggi: 1655
Località: Genova
@Beppe: se vuoi, te ne porto un po'!!!! :mrgreen: :mrgreen:

@Claudio: ci ho pensato anche io al perno di rotazione arretrato verso il centro automotrice, ma alla fine della fiera ai fini dell'escursione dell'asse non cambia nulla, anzi, otterresti un maggior brandeggio ( antiestetico ) del muso rispetto alla mezzeria del binario. Magari nel disegno considero anche questa ipotesi.

Ciao.

Guido


Top
 Profilo  
 
 Oggetto del messaggio: Re: ALn 56 FIAT...
MessaggioInviato: domenica 7 aprile 2019, 20:19 
Non connesso

Iscritto il: venerdì 25 novembre 2011, 19:13
Messaggi: 2014
Località: Trieste
Bari S. Spirito ha scritto:
Tu dici allargare la cassa o allargare i parafanghi?


Per mantenere le forme e le proporzioni mi sa entrambi. Avevo fatto due conti per la Alb48 e si rende necessario.

Claudio: più allontani il perno di rotazione da ciò che deve ruotare più quest'ultimo si allontana dalla mezzeria.


Top
 Profilo  
 
 Oggetto del messaggio: Re: ALn 56 FIAT...
MessaggioInviato: domenica 7 aprile 2019, 22:06 
Non connesso

Iscritto il: venerdì 25 novembre 2011, 19:13
Messaggi: 2014
Località: Trieste
Prova del nove: quanto è larga la 556 fiat reale e quanto è larga la hornby?


Top
 Profilo  
 
 Oggetto del messaggio: Re: ALn 56 FIAT...
MessaggioInviato: domenica 7 aprile 2019, 22:25 
Non connesso

Iscritto il: mercoledì 20 settembre 2006, 20:44
Messaggi: 6365
Località: Sorbolo di Sorbolo Mezzani (PR)
A memoria, mi pare che Hornby fornisca due parafanghi diversi: uno più largo per i raggi di curva più stretti.


Top
 Profilo  
 
 Oggetto del messaggio: Re: ALn 56 FIAT...
MessaggioInviato: domenica 7 aprile 2019, 22:28 
Non connesso

Iscritto il: mercoledì 29 marzo 2006, 13:06
Messaggi: 1655
Località: Genova
Io non ho misurato la larghezza della cassa della 556 RR, mentre ho misurato la larghezza alle bombature anteriori della carenatura, pari a 29,7 mm, corrispondenti a circa 2.585 mm al reale.
Dai disegni che ha postato Beppe, se non leggo male, la 56 col muso piatto è larga alla cassa 2.400 mm che in scala corrispondono a 27,6 mm.
Se non ricordo male, nelle recensioni della ALn.556 Rivarossi si è sempre riportato che le bombature sulla carenatura sono più larghe del dovuto, per motivi di circolabilità, ma la larghezza della cassa è rispettata in scala.


Top
 Profilo  
 
 Oggetto del messaggio: Re: ALn 56 FIAT...
MessaggioInviato: lunedì 8 aprile 2019, 11:00 
Non connesso

Iscritto il: mercoledì 28 gennaio 2009, 18:12
Messaggi: 2305
Località: Più a est di Vienna
Attenzione, perché la 556 ha dei parafanghi - li chiamo così per derivazione automobilistica, dovrei dire carter - del tutto diversi, molto più schiacciati e aderenti al profilo della cassa, per cui Rivarossi ha dovuto giocoforza stondarli e gonfiarli per adeguarsi alle necessità di scala.
La 56 ha al vero, come detto, delle bombature anteriori già più pronunciate, resterebbe appunto da vedere se, in combinazione con l'arretramento del perno del carrello e altri piccoli compromessi, sono sufficienti a far sterzare il carrello per circolare almeno su raggi R5 (circa 500 mm) o magari 450.


Top
 Profilo  
 
 Oggetto del messaggio: Re: ALn 56 FIAT...
MessaggioInviato: lunedì 8 aprile 2019, 11:18 
Non connesso

Iscritto il: domenica 16 dicembre 2018, 23:33
Messaggi: 239
Località: Olanda
La Aln556 fiat è infatti più difficile da fare della Aln56 per via dei carter molto più sottili.
Cio non di meno con lo stesso schema di cinematica di Salvatore Spinelli, un bravo modellista Italiano in Danimarca, Pietro Sanguini, ha realizzato una ALn556 fiat con una delle mie casse:
Lo sviluppo è documentato sul suo sito http://ilbrenneroindanimarca.blogspot.com/2017/07/aln-556-fiat-da-molto-tempo-questa.html
questa è una foto del suo modello.
Immagine

Ciao
G.


Top
 Profilo  
 
 Oggetto del messaggio: Re: ALn 56 FIAT...
MessaggioInviato: lunedì 8 aprile 2019, 11:25 
Non connesso

Iscritto il: mercoledì 28 gennaio 2009, 18:12
Messaggi: 2305
Località: Più a est di Vienna
Beh, nulla ci impedisce di sposare le due soluzioni... aspettiamo Guido e spiego poi cosa voglio dire.


Top
 Profilo  
 
 Oggetto del messaggio: Re: ALn 56 FIAT...
MessaggioInviato: lunedì 8 aprile 2019, 12:17 
Non connesso

Iscritto il: venerdì 25 novembre 2011, 19:13
Messaggi: 2014
Località: Trieste
Giorno.

Ecco due conti della serva. Ho disegnato la Aln 56 su una curva da 500 mm di raggio. La cassa disegnata ha le dimensioni indicative ad altezza finestrini. Attenzione che verso il basso la cassa si stringe.Ho anche provato a mettere il perno di rotazione come da disegno FS, e sopra l'asse interno. Come si vede, la ruota anteriore interno curva esce meno dalla cassa quando il perno di rotazione è nella stessa posizione indicata nel disegno FS. Ho ipotizzato ruote RP25/88, con spessore 2.2 mm.
Ora, considerato quanto sopra, considerato un po' di spazio tra ruota e parafango, che la cassa stringe verso il basso e lo spessore della (brrrr...) plastica, non capisco come questo aggeggio possa correre (non zoppicare in modo incerto) sul binario senza allargare parafanghi e cassa.

Immagine

Immagine

A voi, maestri.
Ciao
Antonio


Top
 Profilo  
 
 Oggetto del messaggio: Re: ALn 56 FIAT...
MessaggioInviato: lunedì 8 aprile 2019, 13:10 
Non connesso

Iscritto il: mercoledì 28 gennaio 2009, 18:12
Messaggi: 2305
Località: Più a est di Vienna
Immagine

Antonio, non vorrei aver interpretato male, ma credo tu non stia considerando i carter, che nel disegno in pianta delle FS da me postato non si vedono. Ne ho grossolanamente aggiunti al tuo studio le sagome, che molto probabilmente dovranno essere ulteriormente adattate alle nostre esigenze.


Top
 Profilo  
 
 Oggetto del messaggio: Re: ALn 56 FIAT...
MessaggioInviato: lunedì 8 aprile 2019, 13:34 
Non connesso

Iscritto il: mercoledì 29 marzo 2006, 13:06
Messaggi: 1655
Località: Genova
Ciao a tutti.
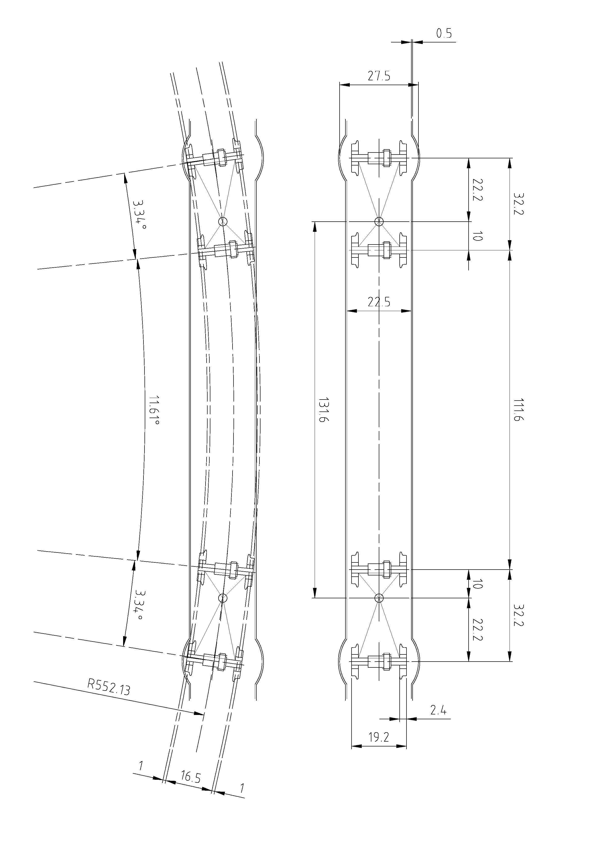
Come promesso, ecco lo studio che ho fatto.
Praticamente il carrello è separato in due parti articolate.
L'interperno è pari a 131,6 mm, quindi a 10 mm verso l'esterno rispetto agli assi interni.
Nel disegno gli assi esterni sono rappresentati con l'ingranaggio perchè non avevo voglia di toglierlo, ma in effetti sono assi folli, senza ingranaggio, poichè tra i due assi si forma un angolo di 3,34° circa. Cioè gli assi esterni sterzano più degli assi interni.
Le misure della carenatura indicate sul disegno si riferiscono al filo inferiore, cioè la parte più stretta.
Con questo sistema, con le dimensioni di assi, ruote e carenature rilevate dalle ALn.556 Rivarossi, e lasciando uno spazio di 0,2 mm tra spigolo ruota e carenatura, si ottiene un raggio minimo percorribile pari a 552,13 mm.
Ovviamente questa misura è del tutto teorica.
nella realtà dei fatti, considerando i giochi tra i vari componenti, le inevitabili imprecisioni di realizzazione nonchè l'immancabile legge di Murphy, direi che un siffatto modello di ALn.56 possa circolare in sicurezza su curve di raggio minimo 560-570 mm.
Allego i disegni salvati in jpeg perchè solo questi formati si possono caricare sul forum. Chi volesse i files nativi in dwnon deve far altro che chiederli.
Ciao a tutti.

Guido


Allegati:
STUDIO MECCANICA 56 01.jpg
STUDIO MECCANICA 56 01.jpg [ 279.41 KiB | Osservato 5865 volte ]
STUDIO MECCANICA 56 02.jpg
STUDIO MECCANICA 56 02.jpg [ 191.21 KiB | Osservato 5865 volte ]
Top
 Profilo  
 
 Oggetto del messaggio: Re: ALn 56 FIAT...
MessaggioInviato: lunedì 8 aprile 2019, 13:37 
Non connesso

Iscritto il: mercoledì 28 gennaio 2009, 18:12
Messaggi: 2305
Località: Più a est di Vienna
Guido, ma hai usato gli ingombri della 556? Non sono gli stessi, la 56, ripeto, aveva delle carenature molto più spinte.


Top
 Profilo  
 
 Oggetto del messaggio: Re: ALn 56 FIAT...
MessaggioInviato: lunedì 8 aprile 2019, 13:54 
Non connesso

Iscritto il: mercoledì 29 marzo 2006, 13:06
Messaggi: 1655
Località: Genova
Ciao Beppe,
1) per la carenatura senza parafango in corrispondenza dei due assi interni ho considerato la larghezza della carenatura della ALn.556 Rivarossi.
2) per la carenatura col parafango in corrispondenza degli assi esterni ho considerato la larghezza dei parafanghi della ALn.556 Rivarossi.

Ora, se i parafanghi anteriori della 56 sono più larghi di quelli della 556 RR, questa misura è ininfluente ai fini del raggio di curvatura percorribile perchè questo è generato dall'escursione possibile degli assi interni dove non c'è parafango.

Se la carenatura dove non c'è parafango è più larga dei 22,5 mm indicati, allora il discorso cambia perchè l'asse può avere più escursione riducendo quindi il raggio minimo di curvatura.
Questa larghezza però non la conosco. Se tu sai a quanto ammonta, postalo e rivedo di conseguenza il disegno.

Ciao.

Guido


Ultima modifica di Guido Brenna il lunedì 8 aprile 2019, 17:34, modificato 1 volta in totale.

Top
 Profilo  
 
 Oggetto del messaggio: Re: ALn 56 FIAT...
MessaggioInviato: lunedì 8 aprile 2019, 13:57 
Non connesso

Iscritto il: venerdì 25 novembre 2011, 19:13
Messaggi: 2014
Località: Trieste
Bari S. Spirito ha scritto:
Immagine

Antonio, non vorrei aver interpretato male, ma credo tu non stia considerando i carter, che nel disegno in pianta delle FS da me postato non si vedono. Ne ho grossolanamente aggiunti al tuo studio le sagome, che molto probabilmente dovranno essere ulteriormente adattate alle nostre esigenze.


Li ho considerati ma non disegnati perché come ho scritto ho disegnato il profilo esterno all'altezza dei finestrini. Non ho una sezione della Aln.


Top
 Profilo  
 
 Oggetto del messaggio: Re: ALn 56 FIAT...
MessaggioInviato: lunedì 8 aprile 2019, 15:05 
Non connesso

Iscritto il: mercoledì 28 gennaio 2009, 18:12
Messaggi: 2305
Località: Più a est di Vienna
Ahhh giusto. Sorry.


Top
 Profilo  
 
Visualizza ultimi messaggi:  Ordina per  
Apri un nuovo argomento Rispondi all’argomento  [ 49 messaggi ]  Vai alla pagina Precedente  1, 2, 3, 4  Prossimo

Tutti gli orari sono UTC + 1 ora [ ora legale ]


Chi c’è in linea

Visitano il forum: Nessuno e 4 ospiti


Non puoi aprire nuovi argomenti
Non puoi rispondere negli argomenti
Non puoi modificare i tuoi messaggi
Non puoi cancellare i tuoi messaggi
Non puoi inviare allegati

Cerca per:
Vai a:  
banner_piko

Duegi Editrice - Via Stazione 10, 35031 Abano Terme (PD). Italy - Tel. 049.711.363 - Fax 049.862.60.77 - duegi@duegieditrice.it - shop@duegieditrice.it
Direttore editoriale: Luigi Cantamessa - Amministratore unico: Federico Mogioni - Direttore responsabile: Pietro Fattori.
Registro Operatori della Comunicazione n° 37957. Partita iva IT 05448560283 Tutti i diritti riservati Duegi Editrice Srl